根据反馈周期和反馈情况智能亮灯,临期、超期任务快速聚焦。
督办查询
功能介绍:
根据反馈周期和反馈情况智能亮灯,临期、超期任务快速聚焦。
1.1 督办台账
· 全量汇总所有督办事项,支持多条件组合查询(如状态、责任部门、时间段)。
· 显示督办全生命周期记录(立项→分解→执行→关闭),支持导出台账报表。
![]()
督办概览
![]()
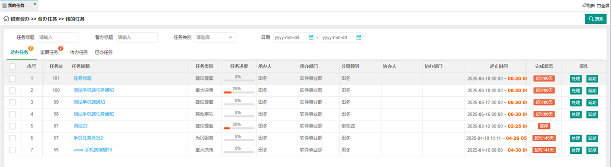
督办任务
![]()
督办进度
![]()
督办文档
![]()
督办跟进
![]()
任务操作日志
1.2 督办统计
· 多维度分析数据,包括完成率、逾期率、部门绩效对比、高频问题分布等。
· 提供仪表盘视图,支持穿透式钻取(如点击部门名称查看详情)。
![]()
1.3 任务监控
· 实时展示任务进度甘特图或时间轴,标记关键节点与风险预警(如进度滞后、资源不足)。
· 督办专员可对异常任务发起催办或干预。
![]()
1.4 督办文档
· 上级部门或领导可查看下属单位/人员的任务列表及进度详情。
· 支持批量导出下级任务数据,用于绩效考核。
![]()
1.5 下属任务
· 集中管理所有督办相关文件(如立项依据、领导批示、过程材料、结项报告)。
· 支持分类归档、全文检索及版本控制。
![]()
版权声明:本文内容由网络用户投稿,版权归原作者所有,本站不拥有其著作权,亦不承担相应法律责任。如果您发现本站中有涉嫌抄袭或描述失实的内容,请联系邮箱:cs@maop.cc 处理,核实后本网站将在24小时内册除。












