任务可以单独下发;可以批量下发,下发后通过消息提醒到用户,包括各类移动端APP等。任务在下发后,如果需要修改内容,增加或减少督办单位,变更反馈频率等,都可以进行变更,变更后会重新进行后台计算出周期等。
督办任务
功能介绍:
任务可以单独下发;可以批量下发,下发后通过消息提醒到用户,包括各类移动端APP等。
任务在下发后,如果需要修改内容,增加或减少督办单位,变更反馈频率等,都可以进行变更,变更后会重新进行后台计算出周期等。
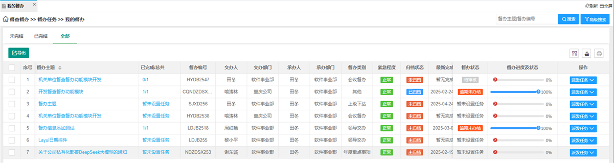
1.1 我的督办
· 督办负责人查看本人负责的所有督办事项,实时跟踪进度、处理延期申请、审核任务上报。
· 支持任务分解、子任务分配、进度百分比更新及备注说明。
![]()
![]()
![]()
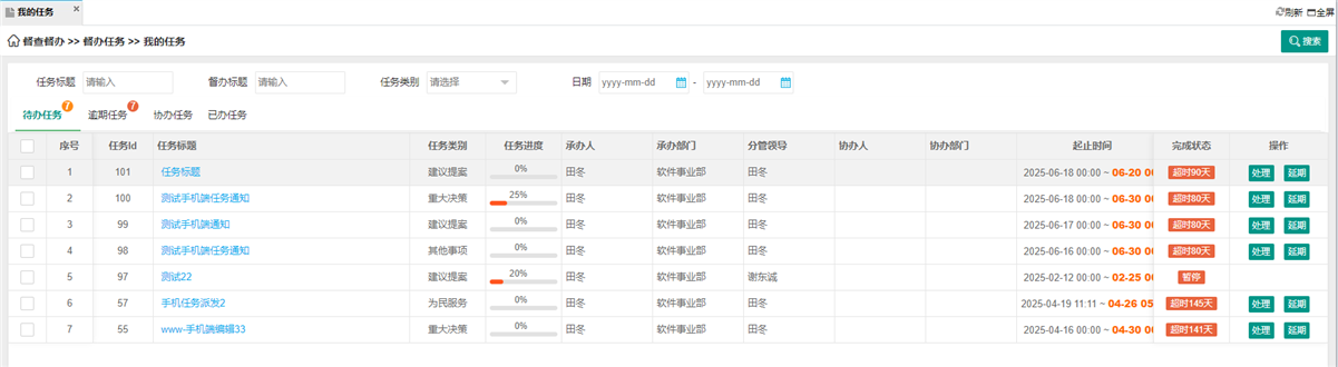
1.2 我的任务
· 普通用户查看被分配的具体任务,支持任务反馈(文字、附件)、进度填报及申请延期。
· 自动提醒临近截止日期的任务,逾期任务标红警示。
![]()
![]()
1.3 延期审核
· 用户提交任务延期申请后,督办负责人可审核理由是否合理,批准或驳回并反馈意见。
· 延期记录存档,作为后续考核依据。
![]()
![]()
1.4 上报审核
· 任务完成后,执行人提交成果(如报告、数据、证明文件),督办负责人审核确认是否达标。
· 支持多次退回修改,直至任务关闭。
![]()
![]()
1.5 逾期统计
· 自动统计各部门/人员的任务逾期率、延期次数,生成可视化图表(如柱状图、排行榜)。
· 支持按时间范围、责任单位等维度筛选,导出为Excel或PDF。
![]()
版权声明:本文内容由网络用户投稿,版权归原作者所有,本站不拥有其著作权,亦不承担相应法律责任。如果您发现本站中有涉嫌抄袭或描述失实的内容,请联系邮箱:cs@maop.cc 处理,核实后本网站将在24小时内册除。












